热门主营:气压传感器  压力变送器  加速度传感器  LVDT 位移传感器  汽车传感器  称重传感器  扭矩传感器
热门搜索:
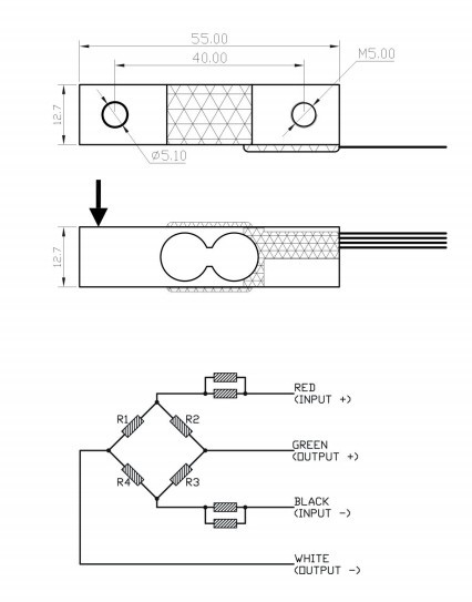
名称: Parallel Beam Load Cell FAB-4
类别: Load Cell

Detail:

Model FAB-4 is constructed using aluminum alloy material,colorless anodized, silicon rubber seal,Ip65.Application:Kitchen scale and counting scale.

Outine:

Specifications:

Details  Please Download>>