热门主营:气压传感器  压力变送器  加速度传感器  LVDT 位移传感器  汽车传感器  称重传感器  扭矩传感器
热门搜索:
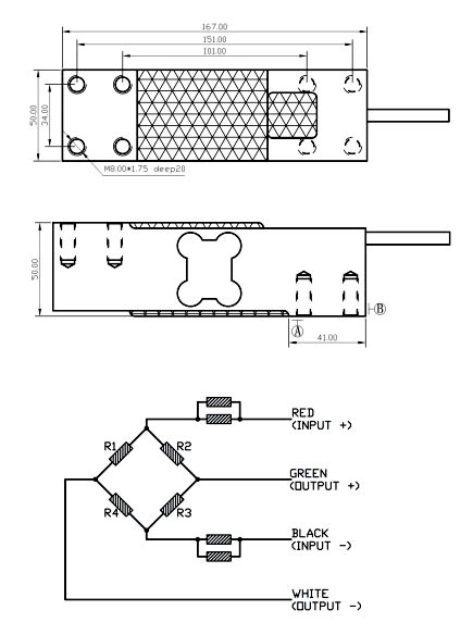
名称: Parallel Beam Load Cell FAV-3
类别: Load Cell

Detail:

Model FAV-3 is constructed using aluminum alloy material,colorless anodized, silicon rubber seal,Ip65.Application:Platform scale and weighing scale.

Outine:

Specifications:

 Details  Please Download>>