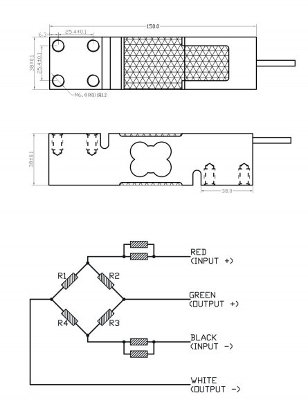
Detail:
Model FAV-2 is constructed using aluminum alloy material,colorless anodized, silicon rubber seal,Ip65.Application:Platform scale and weighing scale.
Outine:
Specifications:
Details Please Download>>
粤公网安备 44030602005003号