热门主营:气压传感器  压力变送器  加速度传感器  LVDT 位移传感器  汽车传感器  称重传感器  扭矩传感器
热门搜索:
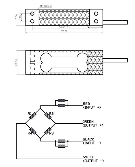
名称: Parallel Beam Load Cell FAP-2
类别: Load Cell

Detail:

Model FAP-2 is constructed using aluminum alloy material,colorless anodized, silicon rubber seal,Ip65.Application:High accuracy weighing scale and counting 
scale.

 Outine:

Specifications:

Details  Please Download>>