

产品说明:
本公司这款FAP-1型称重传感器采用铝合金材质,无色阳极氧化处理,硅胶密封,Ip65。适用于高精度电子天平及计数称。
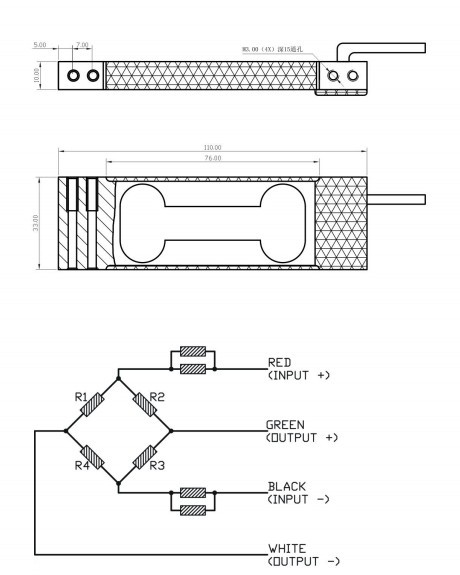
产品外形尺寸:

产品参数介绍:
量程: 0.6/1.2/2/3KG
综合误差: C3
输出灵敏度: 1.0±0.1mV/V
非线性: ±0.02%F.S
重复性: ±0.02%F.S
滞后性: ±0.02%F.S
蠕变: ±0.02%(5min)F.S
零点温度漂移: ≤±0.02%F.S/10℃
额定输出温度漂移:≤±0.02%F.S/10℃
零点输出: ±0.04mV/V
输入电阻: 405±10Ω
输出电阻: 350±2Ω
绝缘电阻: ≥2000Ω/100VDC
推荐激励电压: 5~10(DC)V
工作温度范围: 0-40℃
安全过载: 150%F.S
详细资料请点击下载>>
