热门主营:气压传感器  压力变送器  加速度传感器  LVDT 位移传感器  汽车传感器  称重传感器  扭矩传感器
热门搜索:
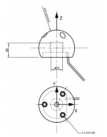
名称: FN7080档位方向力传感器
类别: 力、扭矩传感器

 

产品简介:

     FN7080档位杆力传感器安装在车辆上档位杆把手处,用于滑动车门开关力测量、档位杆换档测试。可测量双向或三向力。带有轴环接口的适配器可以简捷方便的安装在任何车辆上。FN7080档位杆力传感器的形状尺寸符合人体工程学。方便的安装使FN7080可在车辆上或测试平台使用,并提供可选版本高电平输出兼容既有测量系统。
 

基本参数:

  • 工作模式:多方向力测试
  • 封装:变速杆设计
  • 量程N(Lbf):50~500 (10~100)
  • 满量程输出:±7.5mV (4V; ±5V可选)
  • 精度:<0.3%FS
  • 工作温度:-20°C~80°C 
  • 尺寸:25mm 球形 

典型应用:

     变速装置力的测量

外形:

 

详细资料请点击下载>>