

产品说明:
FAB-6型称重变送器采用铝合金材质,无色阳极氧化处理,硅胶密封,Ip65。适用于机械设备的工业控制。
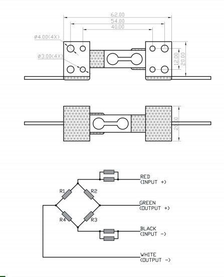
外形尺寸图:

产品参数介绍:
量程: 5/10KG
综合误差: C2
输出灵敏度: 2.0±0.1mV/V
非线性: ±0.05%F.S
重复性: ±0.05%F.S
滞后性: ±0.05%F.S
蠕变: ±0.05%(5min)F.S
零点温度漂移: ≤±0.1%F.S/10℃
额定输出温度漂移:≤±0.05%F.S/10℃
零点输出: ±0.1mV/V
输入电阻: 405±10Ω
输出电阻: 350±2Ω
绝缘电阻: ≥2000Ω/100VDC
推荐激励电压: 5~10(DC)V
工作温度范围: 0-40℃
安全过载: 150%F.S
详细资料请点击下载>>
